工程建设QC小组活动如何搞?老法师支招“十步走”!
作者:而立居士发布时间:2022-06-18分类:施工技术浏览:1456评论:0
作者丨仁者见仁,从事施工管理,深扎施工一线多年。著有微信公众号“仁者见仁”,旨在为大家提供关于施工技术、项目管理最接地气的满满干货。
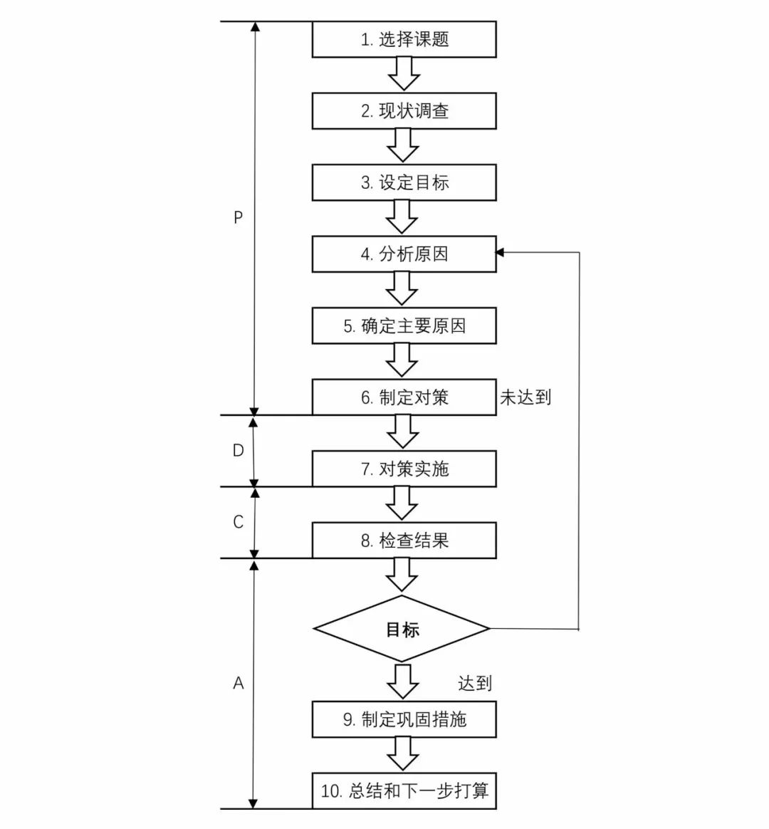
QC,即:全面质量管理。多年来,我国建筑业协会工程建设质量管理分会,始终坚持倡导、鼓励企业员工积极参与企业管理、质量改进和创新。始终坚持倡导“小、实、活、新”的基本原则,遵循PDCA循环,以事实为依据,用数据说话,并应用统计方法。
注:PDCA:P(Plan)计划、D(Do)实施、C(Check)检查、A(Action)处理。
QC成果课题的编写类型
根据QC小组活动的特点和内容,可以分为两大类型:问题解决型QC成果(包含现场型、攻关型、管理型、服务型课题)和创新型QC成果。其中,问题解决型QC成果又分为:问题解决型自选目标QC成果、问题解决型指令性目标QC成果。
上述3种QC小组活动程序图
①
问题解决型自选目标QC小组活动程序图

②
问题解决型指令性目标QC小组活动程序图

③
创新型目标QC小组活动程序图

“工程概况”和“QC小组简介”中
那些不得不说的真谛
1、工程概况要紧紧围绕课题来写,不要把施工组织设计中的工程概况照搬过来。可插入工程特征照片,以增加视觉效果。

示例
2、QC小组简介中“课题类型”(现场型、攻关型、管理型、服务型)的区分,最容易混淆不清、产生歧义,让我们一起来进行梳理:
①现场型:以班组和工序现场的操作工人为主体组成,以生产现场为主要活动范围,以稳定工序质量,改进产品质量,降低消耗,改善生产环境为目的的课题。
②攻关型:由管理人员、技术人员和有经验的操作人员三者结合组成的,以解决技术关键问题为目的的课题。
③管理型:由管理人员组成的,以提高业务工作质量、解决管理中存在的问题、提高管理水平为目的的课题。
④服务型:由从事服务工作的职工群众组成的,以推动服务工作标准化、程序化、科学化,以及提高服务质量和效益为目的的课题。
基于“问题解决型自选目标QC成果”
同大家一起过一遍活动流程
选题理由最好能用数据、图表说话,必须显示出选题的重要性和紧迫性。
选题常见问题:
① 课题“口号式”,大而空
② 课题名称穿靴戴帽,不够精炼
③ 课题“手段+目的”,是不符合要求的
④ 课题包含了两个or多个内容
⑤ 课题名称比较综合,缺少可比性
现状调查有两项基本任务:一是深入现场调查现状以揭示问题;二是通过分析找出问题症结所在。因此,现状调查的编写内容包括现状调查的计划、调查方法、调查数据、数据分析和调查结果。


示例
现状调查必须用数据说话,其根本目的是为设定目标提供依据。
设定的目标,应该是量化、具体的,可以进行比对的。如:

示例
原因分析是针对现状调查阶段找到的主要问题进行的,其主要任务是找出导致主要问题产生的各种原因。因此原因分析的编写内容是从“5M1E”六大因素去分析找原因。
注:“5M1E”,即:人(Man)、设备(Machine)、材料(Material)、方法(Method)、测量(Measure)、环境(Environment)。
在QC小组活动中,用于原因分析的常用方法有三种:因果图、系统图(树图)和关联图,结合头脑风暴法等方法一起使用。
1、关联图
关联图的绘制方法及有关注意事项:确定要分析的问题,“问题”一般用双框的矩形框(或椭圆框)。一个框只圈一个问题。注意:问题的箭头只进不出。

示例
2、因果图
因果图又称石川图、鱼骨图或鱼刺图,是一种去发现问题根本原因的分析方法。

示例
确定主要原因,又称要因确认,是指对原因分析中得出的所有末端因素逐一鉴别,找出主要原因。
主要原因确定的流程示意图,如下:

确定主要原因部分的编写内容通常包括:要因确认计划、要因确认记录和要因汇总分析等。

示例
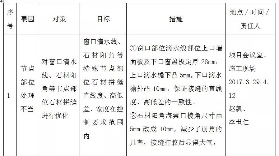
按照“5W1H”要求的原则,逐一对每个主要原因进行分析,提出对策,明确目标,制定可行性措施,落实实施地点,计划好完成时间,确定实施措施的责任人,保证对策措施的顺利实施。
注:“5W1H”要求的原则,即:What(对策)、Why(目标)、Who(负责人)、Where(地点)、When(时间)、How(措施)。
1、对策表的格式

示例
2、注意事项
① 对策目标要量化且措施能有效地指导实施。
② 5W1H不能漏项,更不能前后颠倒,顺序为:要因、对策、目标、措施、地点、完成时间、责任人。
对策实施,就是按照所制定的对策(措施)进行一系列的具体活动过程。
1、按“对策表”的要求逐一实施,并尽量采用图表来叙述实施过程。
2、每条对策的实施,要按照对策表中的“措施”落实实施。

示例
与QC小组活动制定的总目标进行对比,检查是否达到了预定的目标。实现了所制定的目标,凡是能计算经济效益的,都应该计算经济效益。
QC小组活动取得的新工艺、新技术的成果或者一些技术数据等,应有权威部门的认证材料;取得的经济效益,必须有财务等主管部门的认证证明;取得的社会效益,也要有相关部门的证明材料,就建筑施工项目有关的社会效益而言,可以将当地的建设行政机关、业主、监理、用户等出具的证明附在QC成果报告中,以证明其产生的各种效益。
“巩固措施”,简单的说,即:把对策表中经过实施、证明确实能使原来影响问题的要因得到解决,使它不再对质量造成影响的具体措施,形成的“标准”进行整理。
需要特别注意的是,“巩固措施”是将已经获得的成果进一步巩固,而不是今后怎么做。
一般来说,总结可从“专业技术”、“管理技术”以及“小组综合素质”三方面进行。对成功的经验加以肯定,对不足之处进行分析。
其中,“小组综合素质”内容包括:①质量意识;②创新意识;③分析问题、解决问题的能力;④QC方法运用;⑤团队意识;⑥工作干劲和热情;⑦进取精神。

QC小组能力增长雷达图
参考文献:
1、《工程建设QC小组基础知识》建筑业协会工程建设质量管理分会
2、《工程建设QC小组活动成果编写指要与案例》(第二版)
中国建筑业协会《工程建设QC小组基础教材》

👆
长按或扫描小程序码查阅或购买
本篇文章来源于微信公众号: 建筑工程鲁班联盟
- 上一篇:从11个点做好报告核查
- 下一篇:实例来讲四个唯一性标识
相关推荐
欢迎 你 发表评论:
- 施工技术排行
- 公益广告(请勿拦截)
-
- 最近发表
-
- 关于印发《山东省房屋建筑和市政基础设施工程造价咨询服务招标文件示范文-济南版》(2025年版)的通知
- 不踩评审红线!实验室体系运行必备记录全梳理
- 山东省住房和城乡建设厅关于山东德鑫检测技术有限公司等2家机构不予行政许可决定的公告
- 山东省市场监督管理局关于2025年资质认定检验检测机构能力验证(第二次)结果的通报
- 关于济南市2025年度建设工程职务中级、高级评审委员会评审通过人员 异议期公示的通知
- 山东省住房和城乡建设厅关于发布《山东省住房城乡建设科技成果评价导则》的通知
- 市场监管总局办公厅关于印发《市场监管总局检验检测机构资质认定评审人员管理办法实施细则》的通知
- 关于举办2025年度工程勘察设计质量管理小组活动成果大赛的通知
- 山东省住房和城乡建设厅关于发布《山东省建设工程消防设计审查验收疑难解析2.0》的通知
- 关于公开征求《关于进一步加强房屋安全鉴定行业管理工作的通知(征求意见稿)》意见的通知
- 信息统计
-
- 文章总数:1568
- 页面总数:10
- 分类总数:44
- 标签总数:11
- 评论总数:150
- 浏览总数:2155632





微信扫一扫,打赏作者吧~












